開閉自在型トロイダルクランプコア MTFCシリーズ(低周波用)

MTFC Series – Openable toroidal clamp core
開閉自在型トロイダルクランプコア MTFCシリーズ(低周波用)
RoHS2指令(10物質)適合品

対応する電磁ノイズ周波数帯

推奨周波数帯 100kHz~10MHz

樹脂ケース材質

PA66(ナイロン) UL94 V-0
色:ブラック

用途

  • 医療機器、各種デジタル機器の伝導ノイズ対策、放射ノイズ対策
  • スイッチング電源より発生した低周波ノイズ対策

特長

  1. 低周波帯域(100kHz~10MHz)での電磁ノイズ対策に最適なフェライトコアです。
  2. ロック部がケースの外にある開閉自在タイプで電磁ノイズ対策評価時に極めて便利です。
  3. コネクタ付きケーブル、配線済ハーネスにもワンタッチ取り付けができます。
  4. 束線ハーネスへの固定には、カバーに付属のアーム部分をバンドで共締めすることで束線径を問わず確実な固定が可能です。(PAT.)
  5. 装置への固定を必要とする場合は、各種のファスナーとの組合わせが可能です。
  6. コアへの巻き付け回数(ターン数)を増減させることにより、挿入損失を調整出来ます。(下図参照)
  7. 配線済みのケーブル、ハーネスにもワンタッチで取り付けが可能です。損失を調整出来ます。(下図参照)
開閉自在型トロイダルクランプコア MTFCシリーズ(低周波用) 特長1
開閉自在型トロイダルクランプコア MTFCシリーズ(低周波用) 特長2
開閉自在型トロイダルクランプコア MTFCシリーズ(低周波用) 特長3

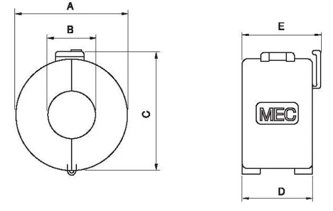
仕様

開閉自在型トロイダルクランプコア MTFCシリーズ(低周波用) 仕様1
品番 寸法 インピーダンス(1ターン) インピーダンス(2ターン) インピーダンス(3ターン) 推奨ケーブル径
A(外径幅) B(内径) C(外径高さ) D(全長) E(アーム込全長) 100kHz 1MHz 10MHz 100kHz 1MHz 10MHz 100kHz 1MHz 10MHz
MTFC16813MN 19.2 7.6 20.7 15.6 17.6 1 10 36 4 41 145 8 83 325 φ7.5以下
MTFC251512MN 27.8 14.5 29.3 14.5 16.5 1 8 21 3 30 84 6 68 188 φ14.3以下

※在庫状況につきましては、お問い合わせください。

※表のインピーダンスは、保証値ではなく実測値です。

インピーダンス特性グラフ

特性グラフでは、カーソルを合わせたり、タップすることで、該当周波数におけるインピーダンスが表示されます。
また、グラフ上部の凡例をクリックやタップすることで、表示・非表示が切り替わります。

※特性グラフのインピーダンスは、保証値ではなく実測値です。